Марка, закладываемая в бетон

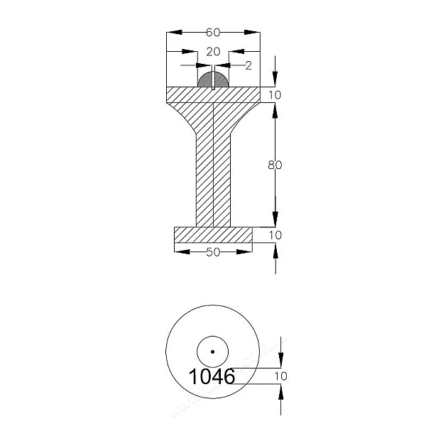
Габарит знака 60х100 мм., материалом служит сталь типа Ст 20. Отлично подойдет в качестве центра знака долговременного закрепления, когда соединение с основанием пункта методом сварки является затруднительным. Гравировка с номером пункта может быть выполнена по умолчанию, либо по предварительной договоренности под Ваш конкретный заказ.
Проведем демонстрацию оборудования онлайн
Марка, закладываемая в бетон
Свяжитесь с нами:
8-800-551-11-01 WhatsApp

Купить Марка, закладываемая в бетон в Барнауле легко — просто позвоните по телефону: